Meetinstructie Verano plisségordijnen
Bepaal eerst waar je het (duo)plisségordijn gaat bevestigen. Je kunt (duo)plisségordijnen tussen de kozijnen van het raam of tussen twee muren bevestigen (In de Dag), of het (duo)plisségordijn over het raamkozijn heen bevestigen. (Op de Dag).
Bij bevestiging op een draai-kiepraam met klemsteunen meet je volgens meetinstructie C. Bij bevestiging op een draai-kiepraam met plakstrips meet je volgens meetinstructie D.
In de Dag Op de Dag
Meetinstructie A: bevestiging tussen de kozijnen van het raam of tussen twee muren (In de Dag)
Breedte
Meet de breedte van het kozijn in centimeters. Doe dit op meerdere plaatsen want het kozijn kan iets scheef zijn. Noteer de smalst gemeten maat. Haal van deze maat 0,5 centimeter af (dit is voor de speling aan beide zijden). Dit is je bestelmaat.
Hoogte
Meet de hoogte van het kozijn in centimeters. Je hoeft hier geen speling van af te halen. De gemeten hoogte is je bestelmaat.
Meetinstructie B: bevestiging over het raamkozijn heen (Op de Dag)
Breedte
Meet de breedte van het kozijn in centimeters inclusief de gewenste overlapping. De overlapping bepaal je helemaal zelf maar wij adviseren minimaal 5 centimeter zodat de plisséstof een aantal centimeters over het kozijn heen valt. De gemeten maat + overlapping is je bestelmaat.
Hoogte
Meet de hoogte van het kozijn in centimeters inclusief de gewenste overlapping. De overlapping bepaal je zelf maar houd wel rekening met eventuele obstakels die in de weg kunnen zitten. De gemeten hoogte + overlapping is je bestelmaat.
Meetinstructie C: bevestiging op een draai-kiepraam met klemsteunen
Breedte
Meet de breedte van het glas in centimeters en tel hier 4 centimeter bij op voor de overlapping (aan elke kant 2 cm). Houd hierbij rekening met uitstekende delen zoals een raamklink.
Hoogte
Meet de totale hoogte van het kozijn in centimeters van het openslaande deel (draai-kiepgedeelte). De klemsteunen worden namelijk (zonder te schroeven) boven op het openslaande deel van het kozijn vastgeklemd en de eventueel meebestelde zijgeleiding wordt aan de onderkant van het kozijn vastgemaakt. De totale hoogtemaat is je bestelmaat.
Let op: als het raam dicht in de hoek draait, kan het raam in de meeste gevallen geen 90 graden meer geopend worden. Zorg dat er voldoende ruimte is voor het monteren van het bovenprofiel en de klemsteunen.
Let op: om de klemsteunen te monteren heeft u minimaal 2 cm vrije ruimte nodig boven en onder het raam.
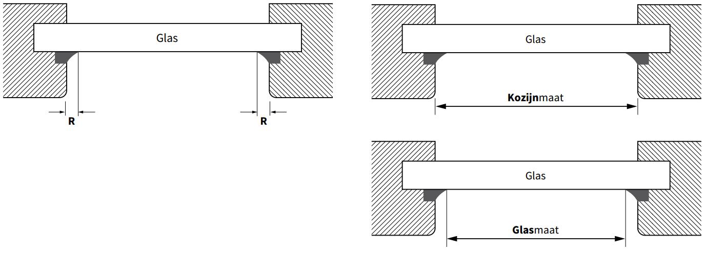
Meetinstructie D: bevestiging met PlaxFix plakprofielen
Om de juiste bestelmaten te bepalen, dien je rekening te houden met de afmeting van het raamrubber (R). De afmeting R bepaalt of je de kozijnmaat of de glasmaat moet meten.

Breedte
Raamrubber (R) kleiner/of gelijk aan 0,5 cm:
Bestelbreedte (B) = de kleinst gemeten kozijnmaat - 0,3 cm
Raamrubber (R) groter dan 0,5 cm:
Bestelbreedte (B) = de kleinst gemeten glasmaat + 0,8 cm
Hoogte
Raamrubber (R) kleiner/of gelijk aan 0,2 cm:
Bestelhoogte (B) = de kleinst gemeten kozijnmaat - 0,2 cm
Raamrubber (R) groter dan 0,2 cm:
Bestelhoogte (B) = de kleinst gemeten glasmaat + 0,2 cm


Overige informatie
- Al onze producten worden geleverd met een maximale ketting- of koordlengte van één meter, waardoor het buiten het bereik van kleine kinderen blijft. Als je een ketting of koord langer dan één meter nodig hebt, neem dan direct contact met ons op wanneer je je bestelling hebt geplaatst.